我們都知道,搪玻璃反應釜等攪拌容器目前被廣泛應用于化工制藥等生產工藝中,為了保證反應的充分進行,除應根據具體的反應物料正確的搪玻璃反應釜攪拌器外,對于攪拌器的轉動裝置也就是我們通常所講的攪拌容器轉動裝置的選擇也非常重要,下面小編為大家簡要介紹一下:
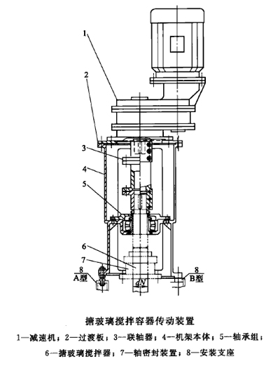
一個完整的搪玻璃攪拌容器轉動裝置一般由減速機、聯軸器、機架、搪玻璃攪拌器、軸密封裝置和安裝支座等組成。這里我們主要說明一下減速機裝置:與搪玻璃容器配套的減速機主要有W型圓柱蝸桿減速機、ZLD型擺線針輪減速機和LC型圓柱齒輪減速機,不同的地方對于其具體名稱有所不同。
- W型圓柱蝸桿減速機:采用圓弧齒圓柱蝸桿傳動,可以直接與搪玻璃容器專用機架配套使用。其特點是效率高、承載能力大、體積小以及質量輕。在結構上,輸出軸軸承跨距大,增加了其剛性。輸出頭采用空心軸套結構,攪拌軸可直接插入減速機中,電動機四通過V帶與減速機相連。
- ZLD型擺線針輪減速機:采用擺線針齒嚙合的減速機構。其特點是減速比大,單機傳動為11~87,雙。級為81~5133,運行平穩、承載能力大,傳動效率高達90%以上
- LC型圓柱齒輪減速機:為兩級同軸式硬齒面斜齒圓柱齒輪減速機,具有傳動平穩、噪聲低、效率高、承載能力強等特點,特別適用于搪玻璃設備攪拌傳動裝置。
具體選用何種轉動裝置請廣大用戶及時與我們的業務人員和技術人員溝通交流,淄博太極搪玻璃設備公司真誠為您服務。

|